菲尼克斯電氣用于多種安全功能的安全繼電器
安全繼電器可靠監控設備或系統的功能安全。
如需急停、光柵、安全門或雙手控制等安全功能,
可選擇成熟的PSRclassic標準型或寬度僅6 mm和12 mm的PSRmini超薄型。
或者,也可將兩種型號組合,提高應用的安全性。
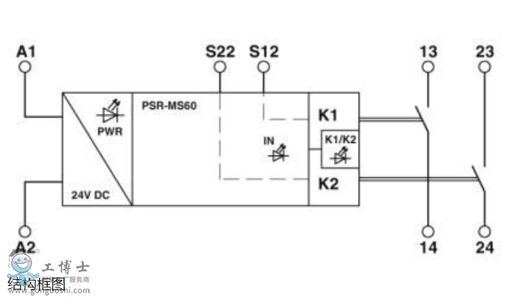
安全繼電器 - PSR-MS60-2NO-24DC-SC - 2904958
用于急停、安全門和光柵的安全繼電器,
高達SILCL 3、類別 4、PL e、單或雙通道運行,自動起動,
2個啟動電流通路(單通道),
US = 24 V DC,固定式螺釘連接器
結構圖:
